Check Valves / Non Return Valves

Check Valve (Female x Female) Distributor in Saudi Arabia

Model No. GV-144-CV -FXF Hex Body

FEATURES
Maximum Working Pressure:
3000 psi (210 bar) at 100°F (38°C)
Working Temperature :
-10°F (-23°C) to 392°F (200°C)
SS304/SS316 Stainless Steel
Cracking Pressure :
1psi (.06 bar) to 25psi (1.7 bar)
Viton O-rings
Sizes: 1/8”~1” pipe thread

GV-144-CV -FXF Hex Body, Female x Female - Check Valves

Description

3000 PSI
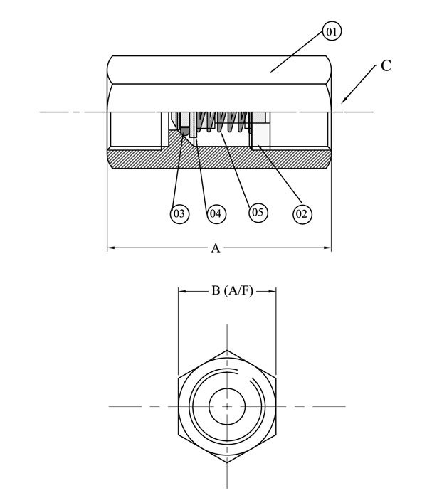
Model No. A B (A/F) C
GV-144-CV-4 51 19 1/4"BSP(F)
GV-144-CV-6 57 22 3/8”BSP(F)
GV-144-CV-8 62 27 1/2”BSP(F)
GV-144-CV-12 75 36 3/4”BSP(F)
GV-144-CV-16 87 41 1"BSP(F)
Bill of Material
Sr. No. Description Material Qty
1 Body SS316 1
2 Side Adaptor SS316 1
3 O Ring  VITON 1
4 Piston SS316 1
5 Spring SS 1

Note: All dimensions are subject to change without notice All dimensions are in mm unless specified