Check Valves / Non Return Valves

Check Valve (NPT Male x Male) Distributor in Saudi Arabia

Model No. GV-146-CV-MXF

FEATURES
Maximum Working Pressure:
6000 psi (414 bar) at 100°F (38°C)
Working Temperature :
-10°F (-23°C) to 392°F (200°C)
SS304/SS316 Stainless Steel
Cracking Pressure :
1psi (.06 bar) to 25psi (1.7 bar)
Viton O-rings
Sizes: 1/8”~1” pipe thread

GV-146-CV-MXF, Check Valve Male x Female, Check Valves

Description

6000 PSI
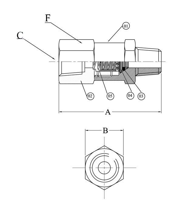
Model No. A B (A/F) C F (A/F)
GV-146-CV-2 62 19 1/8"NPT 19
GV-146-CV-4 62 19 1/4"NPT 19
GV-146-CV-6 62 22 3/8"NPT 22
GV-146-CV-8 75 28.5 1/2"NPT 28.5
GV-146-CV-12 78 32 3/4"NPT 32
GV-146-CV-16 90 41 1"NPT 41
Bill of Material
Sr. No. Description Material Qty
1 Body SS316 1
2 Side Adaptor SS316 1
3 O Ring VITON 1
4 Piston SS316 1
5 Spring SS 1

Note: All dimensions are subject to change without notice All dimensions are in mm unless specified